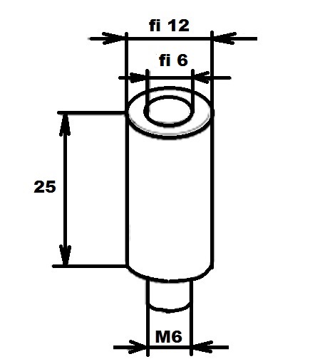
Wąskie SŁUPKI DYSTANSOWE

Wąski słupek do podpórki

AS 301

Zastosowanie: podstawa podpory AS 305 – 310

Średnica: 12 mm

Długość: 25 mm

Otwór fi 6 oraz zewnętrzny gwint M6