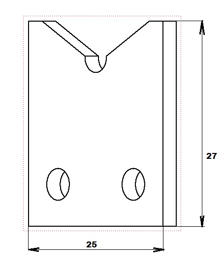
LISTWY I WSPORNIKI Mały wspornik płaski 120° LW 405 Zastosowanie: element podtrzymujący komponentWymiary zewnętrzne: 27 x 25 x 2,5Kąt wcięcia: 120°Stosowany z małym wspornikiem kątowym LW 409 Powrót do oferty Kontakt