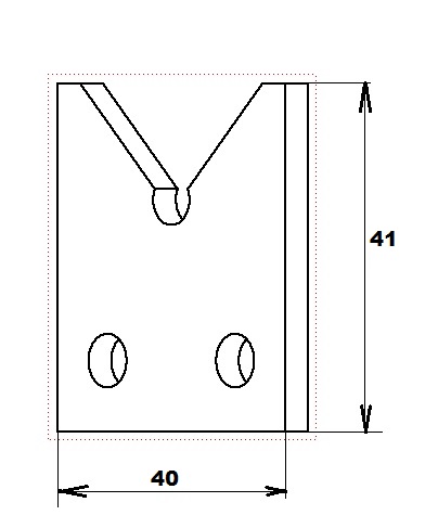
LISTWY I WSPORNIKI Duży wspornik płaski 90° LW 408 Zastosowanie: element podtrzymujący komponentWymiary zewnętrzne: 41 x 40 x 2,5 mmKąt wcięcia: 90°Mocowanie: 2 x otwór fi 4 mmStosowany z dużym wspornikiem kątowym LW 410 Powrót do oferty Kontakt