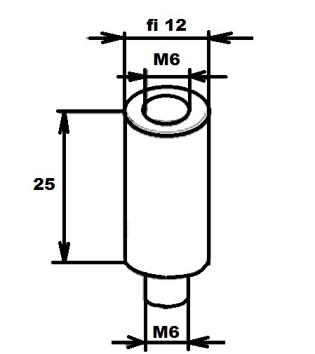
Wąskie SŁUPKI DYSTANSOWE Wąski słupek fi 12 WS 202 Zastosowanie: podpory, punkty podparcia,Średnica: 12 mmDługość: 25 mmOtwór gwintowany M6 oraz zewnętrzny gwint M6 Powrót do oferty Kontakt